联系我们
>>> 干燥设备类 - - - ZLG系列振动流化床干燥机
 
应  用  

    适用于化工、制药、食品、脱水蔬菜、粮食、矿产等行业的粉状、颗粒状物料的干燥、冷却等作业。
    如柠檬酸、味精、硼砂、硫铵、复合肥、萝卜丝、豆粕、酒槽、种子、矿渣、砂糖等。

特  点  

    振动源是采用振动电机驱动,运转平稳,维修方便,噪音低、寿命长。
    流态化匀称,无死空隙和吹穿现象,可以获得均匀的干燥、冷却制品。
    可调性好,适应面宽。料层厚度和在机内移动速度以及全振幅变更均可实现无级调节。
    对物料表面的损伤小,可用于易碎物料的干燥;物料颗粒不规则时亦不影响工作效果。
    采用全封闭式的结构,有效地防止了物料与空气间交叉感染,作业环境清洁。

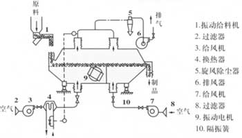
工艺流程图  

技术参数  
型号ZLG
床体
外形
振动电机功率(kw)
重量(kg)
A1
B1
A
B
C
3×30
300
3000
890
3505
1830
0.5×2
1240
3×45
300
4500
1116
5005
1830
0.75×2
1570
6×45
600
4500
1286
5005
1940
1.1×2
1967
6×60
600
6000
1286
6510
1940
1.1×2
2743
6×75
600
7500
1286
8010
1940
1.1×2
2886
9×60
900
6000
1830
6510
2110
2.2×2
3540
9×75
900
7500
1830
8010
2110
2.2×2
4219
12×75
1200
7500
2400
8010
2450
3×2
5223
15×75
1500
7500
2850
8010
2570
4×2
6426
18×80
1800
8000
3250
8520
3100
5.5×2
8600
江阴市干燥设备制造有限公司 版权所有(C)2003
网络支持 中国化工网 ChemNet.com 网盛科技
首页 公司概况 荣誉证书 产品中心 商务定单 化工e圈 联系我们